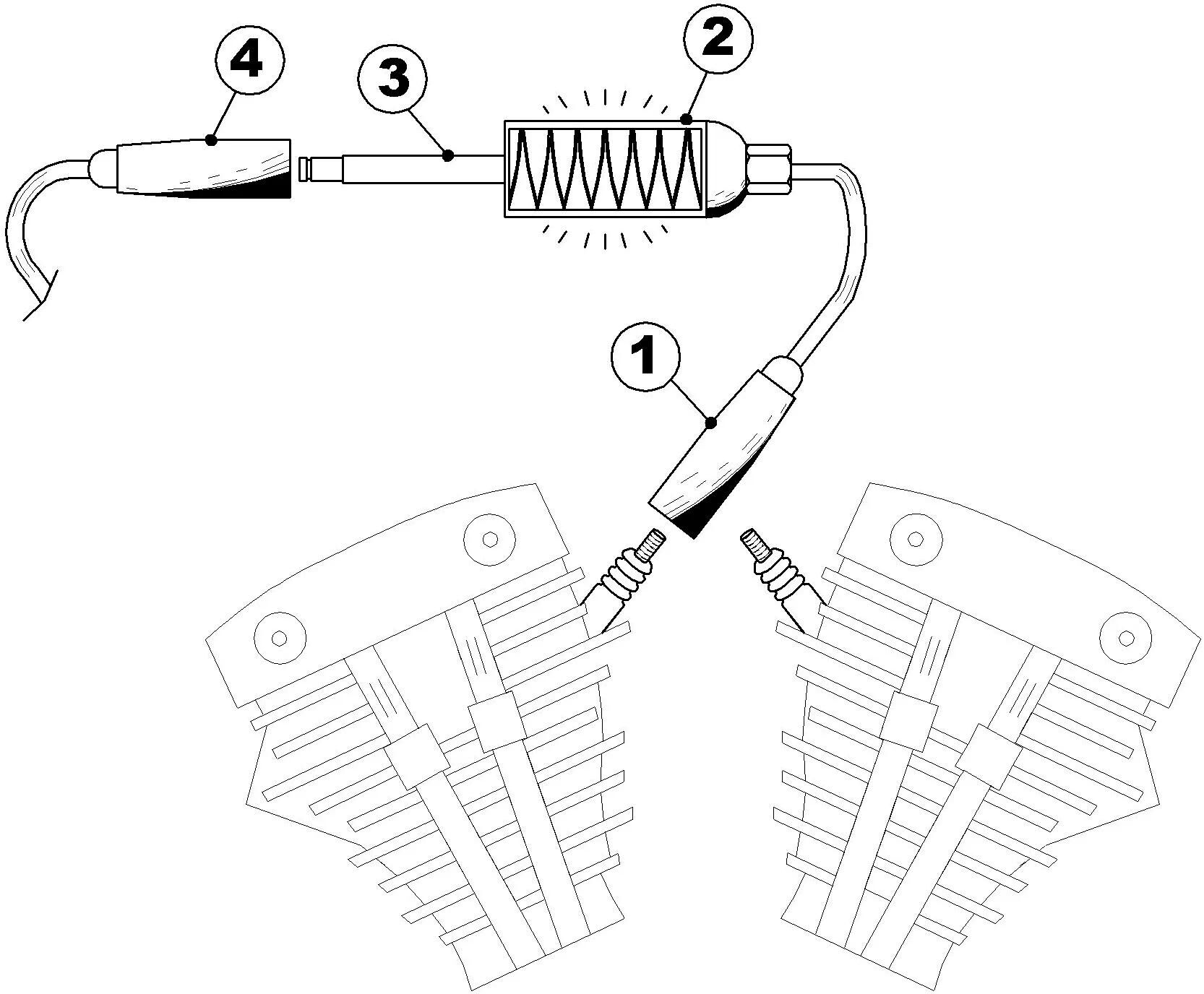
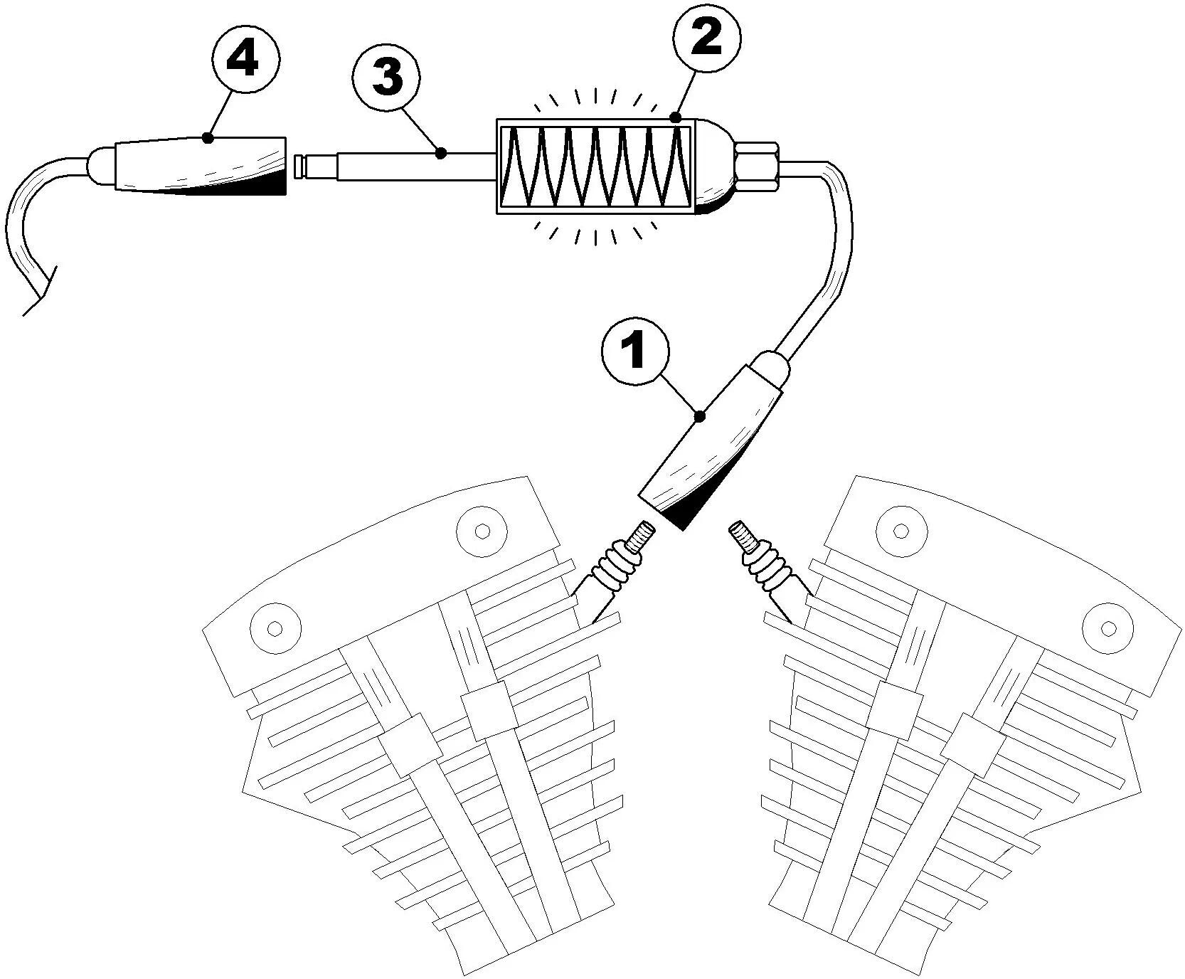
Zündfunkentester
universal
- Art.-Nr.: 05760558
- Org.-Nr.: O15-6566
Wird zwischen Zündkerzenstecker und Zündkerze montiert. Zeigt durch Aufleuchten der verbauten Glühlampe den Zündfunken an.
VE 1
Produktinformationen
- Art Artikel
- Ausführung Zündkerzen
- Einsatzbereich Zündfunkentester
- Hauptfarbe schwarz
- Nebenfarbe silber
- Lieferanten-Artikelnummer: O15-6566
- EAN: 99999999
- UVP: 7,56 €
- SB-Artikel: Nein
- Marke/Lieferant: Bailey
- Mengeneinheit: STÜCK
- Gewicht: 0.063 kg

